Battery Companies History
A battery holder is one or more compartments or chambers for holding a battery or batteries. In the case of dry cells the holder is also usually responsible for making electrical contact. In the case of wet cells normally cables make electrical connection to posts or terminals as commonly found on automobiles, emergency lighting, backup batteries. Battery holders developed in parallel with batteries over time and as battery package sizes shrunk so did the holders. Today's battery holders are either a metal or plastic case with a shape molded in to accept batteries or a plastic holder with contacts.
History
c.1800's. Patents were issued for consumer products like flashlights and radios, patent no. 617,592 is dated March 1898 for an early metal flashlight that accepted D batteries.
- 1898 Flashlight patent
- c.1900, Some early battery holders were no more then a cardboard box with copper contacts.
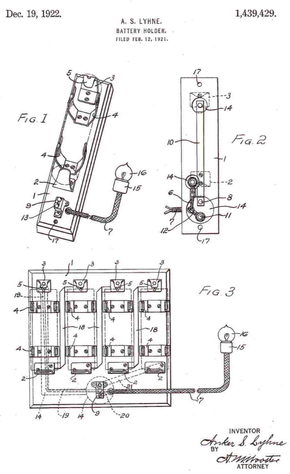
c.1920's. Battery holders used twin metal clips like fuse holders to hold the battery. Patent no. 1,439,429 was granted Dec 12 1922 for an assembly with two spring arm clips, a small switch and lamp assembly on the end of wires.
- 1922 Battery holder with spring arms
- 1953 Flashlight Patent
- 1959 Flashlight Patent
- 1959 Watch Patent
c.1980's. The first circuit board mounted lithium battery (coin cells) holders appeared. Lithium battery holders were introduced in Dec 1984 under patent no 4,487,820. Still widely in use today in almost all personal computers, servers, telecommunications circuit boards.
- 1984 lithium battery holder patent
- c. 1985 PCB with lithium holder and battery.
- c.1980’s Typical PCB mounting coin cell battery holders.
- c. 2008 PCB battery holders are now surface mounting.
Links
- Battery Holders Patents History.pdf
- http://www.ieee-virtual-museum.org/collection/tech.php?id=2345793
1898 Flashlight patent

c.1900, Some early battery holders were no more then a cardboard box with copper contacts.

Example, a used can becomes a battery holder. Top
1922 Battery holder with spring arms

1953 Flashlight Patent

1959 Flashlight Patent

1959 Watch Patent


Top
1984 lithium battery holder patent


c. 1985 PCB with lithium holder and battery.

c.1980’s Typical PCB mounting coin cell battery holders.
